
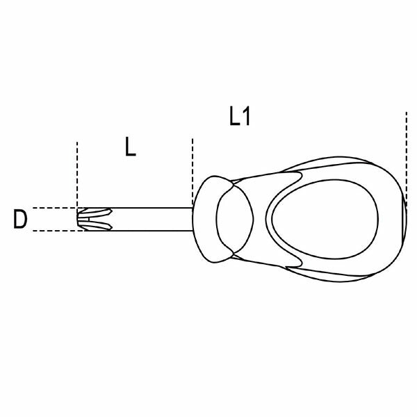
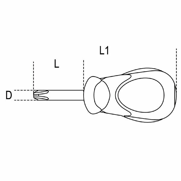
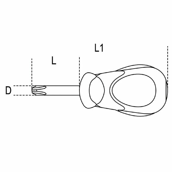
ドライバー
2927 製品
2927 製品の2857 - 2880を表示しています。
2927 製品の2857 - 2880を表示しています。
表示
表示
フィルター (0)














































